Sony新手柄专利曝光!PSVR2手柄或可支持抓握操作
- 小小羊儿

- Apr 6, 2022
- 1 min read
距离Sony官方公布PSVR2已经有一段时间了,官方还在GDC上面进行了面向开发者的专题展示。目前这款设备暂未公布具体的发售日,有消息称Sony的目标是赶在今年年内发售。

PSVR2有非常多让玩家感觉舒适的改动,PSVR2相比前代设备更加轻盈,新增通风口让佩戴者不会感觉过于闷热。手柄方面则加入了手指探测技术,玩家甚至不用按键就可以完成指令输入。

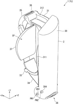
有网友最近发现了Sony注册的一个与手柄有关的新专利,根据描述,这项专利是一种附有束带的手柄,让游戏过程更加安全,当然这也是类似手柄的常规设计了。不过,仅根据专利看,现在还无法判定束带的具体位置。

还有人提出了一种理论——Sony可能会研发与Valve Index的指节手柄类似的控制器。这种手柄让玩家可以做出抓握的操作,更增真实体验。而专利中附带的图片与我们所见过的手柄都不太一样,这可能是PSVR2附带的手柄原型。












Comments